TA3240系列立式穿芯交流電流互感器LI074V1/2009
一、特點:
1.立式穿芯,安裝方式靈活,既可固定于母線上,又可固定在底板上
2.輸出為軟線引出形式,便于在工程現場接線;
二、使用環境條件:
1.環境溫度:-55℃~+85℃;
2.相對濕度:溫度為40℃時不大于90%;
3.大氣壓力:860~1060mbar(約為650~800mmHg)。
三、工作頻率范圍:20Hz~1kHz。
四、絕緣耐熱等級:F級(155℃)。
五、安全特性
1.絕緣電阻:常態時大于1000MΩ;
2.抗電強度:可承受工頻6000V/50Hz/1分鐘;
3.阻燃性:符合UL94-Vo級。
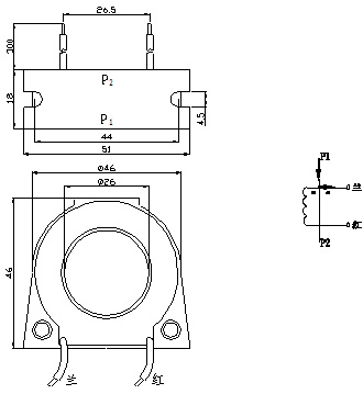
六、外形圖、安裝尺寸和線圈圖:

七、典型應用及性能參數:
按右圖所示應用時性能參數見下表:
|
產品型號 |
額定 輸入電流 |
額定 輸出電流 |
額定 采樣電阻 RL |
額定 采樣電壓 |
相移 |
非線性度 |
線性范圍 |
耐壓 |
|
TA3240-1 |
100A |
0.1A |
18Ω |
1.8V |
≤15’ |
≤0.5% |
5倍額定 |
≥5kV |
|
TA3240-2 |
200A |
0.1A |
36Ω |
3.6V |
≤15’ | |||
|
TA3240-3 |
300A |
0.1A |
54Ω |
5.4V |
≤15’ |
注意:此系列互感器用于電機保護、軟啟動、大電流監控的場所
● 說明:
b.實際應用中,采樣電阻應小于或等于上表給出的額定值,這樣會改善非線性度和相移。在線性范圍內,最大允許電流不應超過1秒鐘。
c.若用戶需要的變流比與上述不同,可按用戶要求訂制。
八、注意事項:
1.電流互感器初級應串聯于被測電流回路中,次級應近似工作于短路狀態;
2.電流互感器次級回路在工作時不允許開路,所以請不要裝熔斷器。
