AFPM100/B消防設備電源監控系統在岑溪文體中心的應用
徐霜
安科瑞電氣股份有限公司 上海嘉定
摘要:本文簡述了消防設備電源監控系統的組成原理,分析了消防設備電源監控系統在應用中的設計依據和相關規范。最后通過安科瑞消防設備電源監控系統在岑溪文體中心項目的實例介紹,闡述了消防設備電源監控系統功能的實現及其重要意義。
0 概述
岑溪市文體中心位于岑梧高速公路出口,職教中心對面,項目總建筑面積2萬多平方米,主要由多功能體育館和訓練館兩個部分組成,整個建筑物宛若一只展翅欲飛的金翅大鵬,彰顯出現代體育“更高、更快、更強”的精神,是集承接大型體育賽事,舉辦各類大型活動,滿足全民健身需求于一體的公共設施。
本次項目為岑溪文體中心十九只消防設備電源監控模塊AFPM系列,位于該項目的體育館及訓練館。本項目主要負責監控現場分布于該項目消防設備的電壓狀況,及時提醒消控室值班人員,以防止火災發生時,消防設備無法正常投入使用。
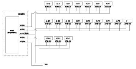
岑溪文體中心現場有消防設備電源監控模塊十九只AFPM系列安裝于樓層內。現場儀表采用總線方式接至消控中心的AFPM100/B壁掛式消防設備電源監控系統。
1 參考標準
近年來,國家為了防止火災發生時消防設備不能正常使用,相繼制訂或修改了一批相關標準規范,加強對消防設備的監控。主要有:
1.1.GB25506-2010《消防控制室通用技術要求》,在條文 5.7 消防電源監控器應符合下列要求:
a)應能顯示消防用電設備的供電電源和備用電源的工作狀態和故障報警信息。
b)應能將消防用電設備的供電電源和備用電源的工作狀態和欠壓報警信息傳輸給消防控制室圖 形顯示裝置。
1.2.GB 28184-2011 《消防設備電源監控系統》
1.3.GB 50116-2013《火災自動報警系統設計規范》
2 系統組成
岑溪文體中心消防設備電源監控系統項目由消防設備電源監測后臺,防設備電源探測器組成。
本項目通訊總線共接入三條通訊總線,將現場的消防設備電源監控模塊直接接入壁掛式后臺,組成消防設備電源監控系統的大動脈。AFPM100/B消防設備電源監控系統采用,消防設備電源狀態監控器+電壓/電流傳感器的兩層結構組網模式。整個監控系統功能全面,安全可靠,探測準確,性價比高,系統內部采用RS485網絡通信,對外提供Modbus-RTU通信協議,以滿足其他標準系統的連接,以上所述組成一套信號穩定,精度可靠的消防設備電源監測系統。本系統組網共分為三層:
1)站控管理層
站控管理層針對電氣火災監控系統的管理人員,是人機交互的直接窗口,也是系統的最上層部分。主要由系統軟件和必要的硬件設備,如觸摸屏、UPS電源等組成。監測系統軟件對現場各類數據信息計算、分析、處理,并以圖形、數顯、聲音、指示燈等方式反應現場運情況。
監控主機:用于數據采集、處理和數據轉發。為系統內或外部提供數據接口,進行系統管理、維護和分析工作。
UPS:保證計算機監測系統的正常供電,在整個系統發生供電問題時,保證站控管理層設備的正常運行。
后臺監控設備設置在消控室中。
2)網絡通訊層
通訊介質:系統主要采用屏蔽雙絞線,以RS485接口,MODBUS通訊協議實現現場設備與上位機的實時通訊。
3)現場設備層
現場設備層是數據采集終端,主要為AFPM100系列消防設備電源監控探測器。
系統結構拓撲圖如下:

3 消防設備電源設備
3.1、 AFPM100消防設備電源后臺:

主要技術參數
電源
● 主電源:AC220V 50Hz(允許85%-110%范圍內變化)
● 備用電源:主電源低電壓或停電時,維持監控設備工作時間≥8h
● 監控器為連接的模塊(電壓/電流信號傳感器)提供DC24V電源
工作制:24小時工作制
- 1
- 2
- 總2頁
http:www.toastsoft.com/news/56423.htm
